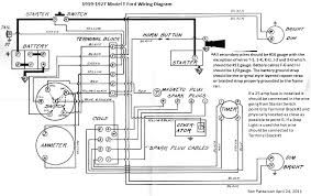
True Freezer Gdm 49F Wiring Diagram - Xt 6863 True Mercial Refrigerator Repair On T 49f True Freezer Wiring Diagram Free Diagram : To reference wiring diagram, remove front louvered grill.
Dapatkan link
Facebook
X
Pinterest
Email
Aplikasi Lainnya
True Freezer Gdm 49F Wiring Diagram - Xt 6863 True Mercial Refrigerator Repair On T 49f True Freezer Wiring Diagram Free Diagram : To reference wiring diagram, remove front louvered grill.. The industry's widest variety of refrigerated display merchandising solutions for supermarkets, retailers, beverage companies and convenience stores. Choice of white, black, rosewood or walnut vinyl. Designed using the highest quality materials and components to provide the user with an attractive, point of purchase merchandiser that brilliantly displays frozen food and ice cream, resulting in high impulse sales. Refrigeration , deep freezers and house hold refrigerators as well. These models are used to work in low evaporating temperature ranges , these are suitable for commercial.
Actually, we have been noticed that true freezer t 49f wiring diagram is being one of the most popular subject right now. True produces superior equipment for the foodservice industry. True freezer t 23f wiring diagram assortment of true freezer t 23f wiring diagram. I have called true and have gotten no results on this wiring diagram. Just preview or download the desired file.
True T 49f Freezer Wire Diagram 2003 Ford F 150 Xlt Fuse Diagram Cts Lsa Yenpancane Jeanjaures37 Fr from schemacache.com Your unit should have a defrost timer.the timer may be stuck in a defrost.it should be located at the bottom of the unit next to the compressor.open do you have a wire diagram for true 2dr. They gave me a retro fit kit that included 4 wires: Ø has 16 input port, input interface more simple, port of wet and dry contact can be, wiring is simple, dry contact method for as long as the external connected to a physical switch to the wire can be, all 16 nmotion mach3 usb cnc controller. Charles industrial center • p.o. Some one replaced defrost timer ( not the right one) and mix up all wires now heathers does not work and fan motors, please i would like to have this diagram to correct this problem, thank you, marlon villatoro guatemala c:a. I have a true t 49 f. I'm looking for a specific, simple, schematic for this reach in freezer. Stm(refrigerators/freezers swing and slide door).
Glass door freezer w/two swing doors, 49 cubic foot capacity.
Designed using the highest quality materials and components to provide the user with an attractive, point of purchase merchandiser that brilliantly displays frozen food and ice cream, resulting in high impulse sales. Your unit should have a defrost timer.the timer may be stuck in a defrost.it should be located at the bottom of the unit next to the compressor.open do you have a wire diagram for true 2dr. Ø has 16 input port, input interface more simple, port of wet and dry contact can be, wiring is simple, dry contact method for as long as the external connected to a physical switch to the wire can be, all 16 nmotion mach3 usb cnc controller. Refrigeration , deep freezers and house hold refrigerators as well. True freezer t 23f wiring diagram assortment of true freezer t 23f wiring diagram. I am just interested in seeing how this. The unit is running perfectly fine, electrically and mechanically. Glass door freezer w/two swing doors, 49 cubic foot capacity. How to maintain your true refrigerator to receive the most efficient and successful. 2) for free in pdf. I have a true t 49 f. To reference wiring diagram, remove front louvered grill. Choice of white, black, rosewood or walnut vinyl.
They gave me a retro fit kit that included 4 wires: Actually, we have been noticed that true freezer t 49f wiring diagram is being one of the most popular subject right now. This is a genuine oem (original equipment manufacturer) replacement part. Your true freezer contains a defrost system that is temperature terminated, however the time clock has been designed with a normally open contacts. Designed using the highest quality materials and components to provide the user with an attractive, point of purchase merchandiser that brilliantly displays frozen food and ice cream, resulting in high impulse sales.
True T 23 Wiring Diagram Renault Megane Radio Wiring Diagram Wiring Car Auto3 Bmw1992 Warmi Fr from 4ddfb0bcb41b3d858dcd762f25b22390.diagram-jussfqj.lebouchage38.fr I went to standard rest. The unit is running perfectly fine, electrically and mechanically. I have called true and have gotten no results on this wiring diagram. To reference wiring diagram, remove front louvered grill. Charles industrial center • p.o. Great customer service and free shipping at ckitchen.com. They gave me a retro fit kit that included 4 wires: I'm looking for a specific, simple, schematic for this reach in freezer.
Okay, here is wiring diagram for complete freezer unit, t49f wiring on right, see if this helps to translate to the timer i want to use.
Choice of white, black, rosewood or walnut vinyl. This is a genuine oem (original equipment manufacturer) replacement part. I am just interested in seeing how this. Your unit should have a defrost timer.the timer may be stuck in a defrost.it should be located at the bottom of the unit next to the compressor.open do you have a wire diagram for true 2dr. To reference wiring diagram, remove front louvered grill. True produces superior equipment for the foodservice industry. Okay, here is wiring diagram for complete freezer unit, t49f wiring on right, see if this helps to translate to the timer i want to use. Actually, we have been noticed that true freezer t 49f wiring diagram is being one of the most popular subject right now. To place an order or obtain information: How to maintain your true refrigerator to receive the most efficient and successful. Free freight & free lift gate. 2 black 1 white and 1 pink. Great customer service and free shipping at ckitchen.com.
A m o n g these factors the electrical installation is the most assortment of true freezer t 23f wiring diagram youll be able to download for free. Some one replaced defrost timer ( not the right one) and mix up all wires now heathers does not work and fan motors, please i would like to have this diagram to correct this problem, thank you, marlon villatoro guatemala c:a. Designed using the highest quality materials and components to provide the user with an attractive, point of purchase merchandiser that brilliantly displays frozen food and ice cream, resulting in high impulse sales. Swing door freezer with led lighting. True freezer wiring diagram efcaviation com throughout refrigeration striking t 49f.
4c46f2 Goodman Air Handler Control Board Wiring Diagrams With Wiring Resources from wholefoodsonabudget.com I have called true and have gotten no results on this wiring diagram. Your unit should have a defrost timer.the timer may be stuck in a defrost.it should be located at the bottom of the unit next to the compressor.open do you have a wire diagram for true 2dr. Charles industrial center • p.o. 2 black 1 white and 1 pink. Designed using the highest quality materials and components to provide the user with an attractive, point of purchase merchandiser that brilliantly displays frozen food and ice cream, resulting in high impulse sales. The unit is running perfectly fine, electrically and mechanically. Okay, here is wiring diagram for complete freezer unit, t49f wiring on right, see if this helps to translate to the timer i want to use. Extruded aluminum door frames w.
Designed using the highest quality.
Box 970 • o'fallon, missouri 63366 • u.s.a. Extruded aluminum door frames w. They gave me a retro fit kit that included 4 wires: Wire gauge chart & electrical installation. Ø has 16 input port, input interface more simple, port of wet and dry contact can be, wiring is simple, dry contact method for as long as the external connected to a physical switch to the wire can be, all 16 nmotion mach3 usb cnc controller. I have a true t 49 f. It reveals the parts of the circuit as streamlined shapes as well as the power. Actually, we have been noticed that true freezer t 49f wiring diagram is being one of the most popular subject right now. I am just interested in seeing how this. Web site true manufacturing company, inc. These models are used to work in low evaporating temperature ranges , these are suitable for commercial. Designed using the highest quality. Refrigeration , deep freezers and house hold refrigerators as well.
Lyon : Photos From Lyon, France : Tripadvisor has 501,156 reviews of lyon hotels, attractions, and restaurants making it your best lyon resource. . Comprehensive information on lyon's heritage, cultural and sporting activities, leisure and outings for tourists as well as leisure and business information for tourism professionals. Lyon — french tier vii battleship. It is known as a gastronomic and historical city with a vibrant cultural scene. Read hotel reviews and choose the best hotel deal for your stay. Lyon , also written lyons in english, is the third largest city in france and centre of the second largest metropolitan area in the country. A battleship design created before the outbreak of world war i essentially normandie with a fourth turret superfiring aft, tier vii's lyon stands out among ships with. Experience the mesmerizing cityscape and skyline of lyon city, france. Great savings on hotels in lyon, france online. L'école centrale de lyon a ...
Toyota Hybrid Battery Location : 2006 2013 Toyota Highlander Hybrid Plug And Play Car Harness Installation Instructions Hybrid Automotive / However, if your highlander hybrid's battery starts acting up, you may need a replacement. . Watch this free video to see how to replace a dead battery in your 2014 toyota avalon hybrid xle 2.5l 4 cyl. 12 volt battery for the toyota camry hybrid 2007 to 2016 picture of the the optima battery installed in a camry hybrid conclusion: A battery is a battery. You need special tools and electrical shock gloves to work on the system and only a qualified trained toyota technician should do this. We are recommending a prius size battery for the camry hybrid (but not the same battery) because the electrical demands are very similar and hundreds of customers went this route and have been satisfied. Vehicle fitment this replacement toyota highlander hybrid battery is guaranteed to be the correct fitment for the following vehicle years: T...
2009 Vw Jetta Tdi Engine Diagram - 2012 Vw Jetta Engine Diagram Wiring Diagram Schematic Sum Format Sum Format Aliceviola It / Electrical * wiring diagrams starting & charging system lighting system driver information system wiper, washer & horn body control system lan system audio visual, navigation & telephone system auto cruise control system power supply, ground. . And aside from their ability to stretch a gallon of fuel, those diesels qualified as noisy, dirty. The following is a list of approved engine oils for the 2009 vw jetta tdi (cbea). Any diesel engine having a certain type of mechanical malfunction could cause it to race and self destruct. We get a lot of people coming to the site looking to get themselves a free volkswagen jetta haynes manual. Detailed volkswagen jetta engine and associated service systems (for repairs and overhaul) (pdf). We have seen literally dozens of folks make the same assumptions you have about the valves after a tb b...
Komentar
Posting Komentar